เราจะนําเสนอประสิทธิภาพวิธีการทํางานที่ปลอดภัยและพารามิเตอร์ทางเทคนิคของสวิตช์แรงดันกลาง KYN28-12

ใช้สภาพแวดล้อม
◆อุณหภูมิอากาศโดยรอบ: ขีด จํากัด บน 40 °C ขีด จํากัด ล่าง -10 °Cในพื้นที่ทั่วไป:
◆ระดับความสูง: 1000m;
◆ความชื้น:
ความชื้นสัมพัทธ์: ค่าเฉลี่ยรายวันไม่เกิน95% และค่าเฉลี่ยรายเดือนไม่เกิน90%;
แรงดันไอน้ำ: ค่าเฉลี่ยรายวันไม่เกิน2.2KPa และค่าเฉลี่ยรายเดือนไม่เกิน1.8KPa
การควบแน่นอาจเกิดขึ้นเมื่ออุณหภูมิ plummets พร้อมกับสิ่งสกปรกและผลิตภัณฑ์นี้เหมาะสำหรับสองสภาพแวดล้อมที่รุนแรงกว่าสภาวะปกติต่อไปนี้:
(1). การควบแน่นไม่บ่อยนัก (โดยเฉลี่ยไม่เกินสองครั้งต่อเดือน) ที่มีสิ่งสกปรกเล็กน้อย
(2). โดยทั่วไปไม่มีการควบแน่น (โดยเฉลี่ยไม่เกินสองครั้งต่อปี) ที่มีมลพิษร้ายแรง
◆ ไม่มีไฟไหม้อันตรายจากการระเบิดและมลพิษร้ายแรงพอที่จะกัดกร่อนโลหะและฉนวนกันความร้อนความเสียหายและสถานที่ที่รุนแรงอื่น
◆ ไม่มีการสั่นสะเทือนรุนแรงการกระแทกและความโน้มเอียงในแนวตั้งไม่เกิน80;
หมายเหตุ: (1) การจัดเก็บและการขนส่งได้รับอนุญาตที่อุณหภูมิ -30 °C;
(2) เมื่อความสูงเกิน1000เมตรจะต้องได้รับการจัดการตามข้อกำหนดทางเทคนิค jb/ 2102 "สำหรับพื้นที่ระดับความสูงสำหรับการใช้เครื่องใช้ไฟฟ้าแรงดันสูง"; เมื่อระดับความสูงไม่เกิน2000เมตรอุปกรณ์เสริมแรงดันต่ำไม่จำเป็นต้องใช้มาตรการใดๆ
(3) เมื่อสภาพการใช้งานจริงแตกต่างจากด้านบนควรเจรจาระหว่างผู้ใช้และผู้ผลิต
แบบจําลองและความหมาย
เค เค Y น น 28-12 / □ - □
จัดอันดับ การทําลายกระแสลัดวงจร (KA)
จัดอันดับ ปัจจุบัน (A)
จัดอันดับ แรงดันไฟฟ้า (KV)
└─ออกแบบหมายเลขซีเรียล
└─ในร่ม
└─ ย้ายชนิด
โลหะ เกราะ
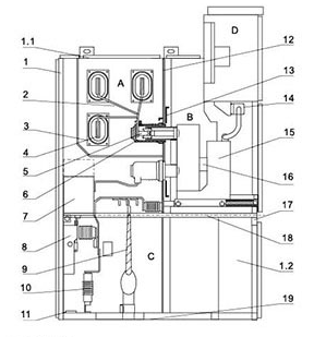
แผนภาพของโครงสร้างของสวิตช์
รูปที่ 1

ก.ช่องเบรกเกอร์ Bช่องบัสบาร์
ค.ห้องเคเบิล D.ห้องรีเลย์เครื่องมือ
1.บัสบาร์ 2.ดิสก์ติดต่อแบบคงที่ 3.เบรกเกอร์
4.สวิตช์สายดิน 5.หม้อแปลงกระแสไฟฟ้า
6.ตัวแบ่งแรงดันไฟฟ้าแบบ Capacitive 7.แรงดันฟ้าผ่า
รูปที่ 2 แผนภาพของโครงสร้างสวิตช์

1.ที่อยู่อาศัย 2.สาขา busbar ขนาดเล็ก 3.แขน Busbar 4.บัสบาร์หลัก
5.อุปกรณ์ติดต่อแบบคงที่ 6.กล่องติดต่อแบบคงที่ 7.หม้อแปลงกระแสไฟฟ้า
8.สวิตช์สายดิน 9.สายเคเบิล 10.อุปกรณ์ป้องกันไฟกระชาก 11รถบัสสายดินหลัก
12.การโหลดและพาร์ติชันที่ถอดได้ 13พาร์ทิชัน (พนัง) 14.ปลั๊กรอง
15.ค่ะเซอร์กิตเบรกเกอร์ handcart 16เครื่องทำน้ำร้อน17ค่ะฉากกั้นแนวนอนแบบแยกได้
18.กลไกการทํางานของสวิตช์สายดิน 19.แผ่นฐาน
A.Busbar Room b. เซอร์กิตเบรกเกอร์ handcart Room c. เคเบิ้ลห้องดีห้องเครื่องมือรีเลย์
1.1.อุปกรณ์บรรเทาแรงดัน 1.2.ควบคุมลําต้นขนาดเล็ก
ตรงตามมาตรฐาน
ผลิตภัณฑ์มีคุณสมบัติตรงตามมาตรฐานต่อไปนี้:
1.IEC-298
2.GB3906-1991
3.DLT404-19974. GB / T11022-1999
โครงการเดินสายไฟหลัก
| หมายเลขแผน | 001 | 002 | 003 | 004 | 005 | |
แผนภาพเส้นทางหลัก |
| |||||
| จัดอันดับปัจจุบัน (ก) | 630-4000 | |||||
หนึ่ง เวลา โฮสต์ ต้องการ ไฟฟ้า เครื่องใช้ หยวน สินค้า | เครื่องตัดวงจรสูญญากาศ | 1 | 1 | 1 | 1 | 1 |
| หม้อแปลงกระแสไฟฟ้า LZZBJ9-12 | 2 | 2 | 2 | 3 | 3 | |
| หม้อแปลงแรงดันไฟฟ้า RZL / REL | ||||||
| เบรกเกอร์แรงดันสูง (XRNP □) | ||||||
| สวิตช์สายดิน (EK6 / JN15-12) | 1 | 1 | 1 | |||
| ตัวจับไฟกระชาก HY5WZ-17/45 | 3 | |||||
| ใช้งาน | รับพลังงานและให้อาหารพลังงาน | รับพลังงานและให้อาหารพลังงาน | รับพลังงานและให้อาหารพลังงาน | รับพลังงานและให้อาหารพลังงาน | รับพลังงานและให้อาหารพลังงาน | |
| หมายเลขแผน | 006 | 007 | 008 | 009 | 010 | |
แผนภาพเส้นทางหลัก |
| |||||
| จัดอันดับปัจจุบัน (ก) | 630-4000 | |||||
หนึ่ง เวลา โฮสต์ ต้องการ ไฟฟ้า เครื่องใช้ หยวน สินค้า | เครื่องตัดวงจรสูญญากาศ | 1 | 1 | 1 | 1 | 1 |
| หม้อแปลงกระแสไฟฟ้า LZZBJ9-12 | 3 | 2 | 2 | 2 | 2 | |
| หม้อแปลงแรงดันไฟฟ้า RZL / REL | ||||||
| เบรคเกอร์แรงดันสูง (XRNP) □) | ||||||
| สวิตช์สายดิน (EK6 / JN15-12) | 1 | 1 | 1 | |||
| ตัวจับไฟกระชาก HY5WZ-17/45 | 3 | |||||
| ใช้งาน | ฟีด | ติดต่อ (ขวา) | ติดต่อ (ขวา) | ติดต่อ (ซ้าย) | ติดต่อ (ซ้าย) | |
| หมายเลขแผน | 011 | 012 | 013 | 014 | 015 | |
แผนภาพเส้นทางหลัก |
| |||||
| จัดอันดับปัจจุบัน (ก) | 630-4000 | |||||
หนึ่ง เวลา โฮสต์ ต้องการ ไฟฟ้า เครื่องใช้ หยวน สินค้า | เครื่องตัดวงจรสูญญากาศ | 1 | 1 | 1 | 1 | 1 |
| หม้อแปลงกระแสไฟฟ้า LZZBJ9-12 | 3 | 3 | 2 | 2 | 2 | |
| หม้อแปลงแรงดันไฟฟ้า RZL / REL | ||||||
| เบรกเกอร์แรงดันสูง (XRNP □) | ||||||
| สวิตช์สายดิน (EK6 / JN15-12) | 1 | 1 | 1 | |||
| ตัวจับไฟกระชาก HY5WZ-17/45 | 3 | |||||
| ใช้งาน | สายเหนือศีรษะ (ติดต่อขวา) | สายเหนือศีรษะ (ติดต่อขวา) | เส้นทางเข้าและออกเหนือศีรษะ | เส้นทางเข้าและออกเหนือศีรษะ | เส้นทางเข้าและออกเหนือศีรษะ | |
| หมายเลขแผน | 016 | 017 | 018 | 019 | 020 | |
แผนภาพเส้นทางหลัก |
| |||||
| จัดอันดับปัจจุบัน (ก) | 630-4000 | |||||
หนึ่ง เวลา โฮสต์ ต้องการ ไฟฟ้า เครื่องใช้ หยวน สินค้า | เครื่องตัดวงจรสูญญากาศ | |||||
| หม้อแปลงกระแสไฟฟ้า LZZBJ9-12 | ||||||
| หม้อแปลงแรงดันไฟฟ้า RZL / REL | /3 | 2/ | /3 | 2/ | /2 | |
| เบรกเกอร์แรงดันสูง (XRNP □) | 3 | 3 | 3 | 3 | 3 | |
| สวิตช์สายดิน (EK6 / JN15-12) | ||||||
| ตัวจับไฟกระชาก HY5WZ-17/45 | 3 | 3 | 3 | |||
| ใช้งาน | การวัดแรงดันไฟฟ้า ตัวจับไฟกระชาก | การวัดแรงดันไฟฟ้า ตัวจับไฟกระชาก | การวัดแรงดันไฟฟ้า ตัวจับไฟกระชาก | การวัดแรงดันไฟฟ้า (ลิงก์ซ้าย) | การวัดแรงดันไฟฟ้า (ลิงก์ขวา) | |
| หมายเลขแผน | 021 | 022 | 023 | 024 | 025 | |
แผนภาพเส้นทางหลัก |
| |||||
| จัดอันดับปัจจุบัน (ก) | 630-4000 | |||||
หนึ่ง เวลา โฮสต์ ต้องการ ไฟฟ้า เครื่องใช้ หยวน สินค้า | เครื่องตัดวงจรสูญญากาศ | |||||
| หม้อแปลงกระแสไฟฟ้า LZZBJ9-12 | 2 | 2 | 3 | 3 | 2 | |
| หม้อแปลงแรงดันไฟฟ้า RZL / REL | 2/ | 2/ | 2/ | 2/ | /3 | |
| เบรกเกอร์แรงดันสูง (XRNP □) | 3 | 3 | 3 | 3 | 3 | |
| สวิตช์สายดิน (EK6 / JN15-12) | ||||||
| ตัวจับไฟกระชาก HY5WZ-17/45 | ||||||
| ใช้งาน | การวัด คู่รักขวา | การวัด คู่หูซ้าย | การวัด คู่หูซ้าย | การวัด คู่รักขวา | การวัด คู่หูซ้าย | |
| หมายเลขแผน | 026 | 027 | 028 | 029 | 030 | |
แผนภาพเส้นทางหลัก |
| |||||
| จัดอันดับปัจจุบัน (ก) | 630-4000 | |||||
หนึ่ง เวลา โฮสต์ ต้องการ ไฟฟ้า เครื่องใช้ หยวน สินค้า | เครื่องตัดวงจรสูญญากาศ | 1 | ||||
| หม้อแปลงกระแสไฟฟ้า LZZBJ9-12 | 3 | ตัวเก็บประจุ Bm12.7-16-1 3 | ||||
| หม้อแปลงแรงดันไฟฟ้า RZL / REL | /3 | หม้อแปลง 1 | /4 | /4 | ||
| เบรกเกอร์แรงดันสูง (XRNP □) | 3 | 3 | (XRNT) 3 | 3 | 3 | |
| สวิตช์สายดิน (EK6 / JN15-12) | 1 | 1 | 1 | |||
| ตัวจับไฟกระชาก HY5WZ-17/45 | 3 | 3 | 3 | |||
| ใช้งาน | ขาเข้า การวัด | ตู้หม้อแปลงที่ใช้ (ความกว้างของตู้จะถูกกำหนดตามขนาดของขนาดตัวแปรที่ใช้) | ตู้ตัวเก็บประจุ | การวัดแรงดันไฟฟ้า ตัวจับไฟกระชาก | การวัดแรงดันไฟฟ้า ตัวจับไฟกระชาก | |

◆รถเข็นมือ โครงรถเข็นทำจากแผ่นเหล็กบางๆที่ประมวลผลโดยเครื่องมือเครื่องจักร CNC แล้วตอกหมุดและเชื่อมตามแอพลิเคชัน, handcart สามารถแบ่งออกเป็นเบรกเกอร์เบรกเกอร์, หม้อแปลงแรงดันไฟฟ้า handcart แยก, handcart วัดแสงและ handcarts อื่นๆของข้อกำหนดเดียวกัน, ซึ่งสะดวกในการแลกเปลี่ยน Handcart มีตำแหน่งแยกตำแหน่งทดสอบและตำแหน่งการทำงานในตู้และแต่ละตำแหน่งมีอุปกรณ์กำหนดตำแหน่งเพื่อให้แน่ใจว่า handcart ไม่สามารถเคลื่อนย้ายได้อย่างไม่เป็นทางการเมื่ออยู่ในตำแหน่งข้างต้นและจะต้องมีการเชื่อมต่อกันเมื่อมีการเคลื่อนย้าย handcart |
|
◆B busbar รถบัสนำไปสู่จากตู้สวิทช์หนึ่งไปยังอีกตู้หนึ่งโดยใช้รถบัสสาขาและถาดติดต่อแบบคงที่รถบัสสาขาแบนถูกยึดติดกับถาดสัมผัสแบบคงที่และรถบัสหลักโดยไม่จำเป็นต้องมีที่หนีบเพิ่มเติมหรือการเชื่อมต่อฝ่าวงล้อมเมื่อผู้ใช้และโครงการมีความต้องการพิเศษสลักเกลียวเชื่อมต่อบน busbar สามารถห่อหุ้มด้วยฉนวนและฝาท้ายเมื่อ busbar ข้ามพาร์ติชัน สวิตช์เกียร์ จะได้รับการแก้ไขด้วยแขน busbar. หากมีส่วนโค้งความผิดพลาดภายในก็สามารถจำกัดการแพร่กระจายของอุบัติเหตุไปยังตู้ที่อยู่ติดกันและให้แน่ใจว่าความแข็งแรงทางกลของ busbar. |
|
◆C ห้องเคเบิ้ล หม้อแปลงปัจจุบัน, สวิทช์สายดิน, arresters ฟ้าผ่าและสายเคเบิลสามารถติดตั้งในห้องสายเคเบิล, และแผ่นอลูมิเนียมที่ถอดออกได้พร้อมร่องจะเตรียมไว้ที่ด้านล่างของห้องเคเบิลเพื่อความสะดวกในการก่อสร้างในสถานที่ |
|
◆ห้องเครื่องมือ D Relay ห้องเครื่องมือรีเลย์ใช้สำหรับติดตั้งรีเลย์เครื่องมือตัวบ่งชี้สัญญาณสวิตช์การทำงานและส่วนประกอบอื่นๆนอกจากนี้ยังสามารถเพิ่มห้องบัสบาร์ขนาดเล็กที่ด้านบนของห้องเครื่องมือได้ตามความต้องการของผู้ใช้และสามารถวางรถบัสควบคุมทางสิบหกทางได้ |
|
◆โครงสร้างล็อค การเชื่อมต่อระหว่างประตูกลางและตู้ใช้โครงสร้างล็อคและมีกลไกการยกเพื่อให้ประตูกลางสะดวกในการเปิดและเมื่อประตูกลางปิด, ความแรงของการเชื่อมต่อระหว่างมันกับตู้จะดีกว่าซึ่งช่วยเพิ่มความสามารถในการต้านทานความผิดพลาดในการเผาไหม้ส่วนโค้งภายในได้อย่างมีประสิทธิภาพ |
|
◆D Relay Instrument Room ประตูห้องเครื่องมือปิดอยู่และห้องเครื่องมืออยู่ในมุมมองด้านหน้า | ◆อุปกรณ์บรรเทาแรงดัน เมื่อเบรกเกอร์หรือบัสบาร์หลักห้องเคเบิลมีส่วนโค้งความผิดพลาดภายในโดยมีลักษณะของไฟฟ้าความดันอากาศภายในสวิตช์จะเพิ่มขึ้นและหลังจากถึงความดันบางอย่าง, แผ่นโลหะปล่อยแรงดันของอุปกรณ์ด้านบนจะเปิดขึ้นโดยอัตโนมัติเพื่อปล่อยแรงดันและปล่อยก๊าซเพื่อความปลอดภัยของผู้ปฏิบัติงานและสวิตช์ |